仲夏时节,赤日炎炎,曲阜复圣林内机械轰鸣、人头攒动。在文物部门的组织下,复圣林修缮提升二期工程如期推进。二期工程主要聚焦于建设林区排水设施,改善林内排涝功能。自三月底以来,复圣林修缮提升工程持续推进。复圣林修缮工程启动以来,曲阜市委、市人大、市政府、市政协几大班子领导与相关部门对该工程热切关怀并给予大力支持;曲阜市文物局在该项目的规划、立项与施工全过程给予政策与技术指导;曲阜市颜子研究会担负起了主人翁的责任。曲阜市颜子研究会党支部书记、副秘书长颜景汕表示,将不负重托,充分借鉴一期工程的成功经验,严格遵循文物保护的相关规定,科学规划、精心施工,确保二期工程质量与文化传承的双重目标得以实现。
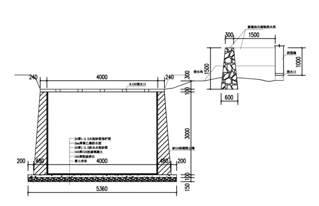
受地势原因影响,每到雨水季节,复圣林内往往会积水内涝,造成林区内建筑、植被受损。前期由于林区内涝、排水不畅,已经造成很多新植的树木枯死,因而解决林区排水问题,迫在眉睫。根据文物部门前期拟定的修缮计划,二期工程将主要聚焦于建设林区排水设施,改善林内排涝功能。其中包括于东颜林西北,现状西林墙泄水口及西排水沟东侧的低洼空地处新建集水池,在现状西林墙泄水口东侧新建挡水坝,并铺设安装污水泵。这不仅有助于更好呈现复圣林的历史风貌,还将提升其生态保护水平,解决长期以来林内排水不畅的问题。
复圣林作为复圣颜子及其家族的墓地,承载着深厚的历史文化内涵,是山东省重点文物保护单位。自2023年11月复圣林修缮提升工程启动以来,修缮提升工程秉持“尊重历史、保护为先、重塑价值” 的原则,依照“因地制宜、整旧如旧” 的总体思路推进。据悉,复圣林修缮提升工程共分三期进行,一期工程已于去年顺利完成,一期工程对颜子墓前地面、石仪、金水桥道路进行了修缮,使得复圣林在整体形象和文物展示方面得到显著提升。二期工程后,三期工程将着重修缮林区基础消防设施,以保障复圣林的日常维护及消防安全。待全部工程完工后,复圣林将在整体形象、文物展示、生态保护及消防安全等多方面实现质的飞跃,为弘扬颜子文化、推动地方文化旅游产业发展提供更为坚实的基础。
自首期修缮工程启动以来,复圣林修缮工程先后得到了社会各界人士的广泛关注与支持,众多颜氏宗亲及热心人士纷纷慷慨解囊,为复圣林的修缮贡献力量。2021年6月,中国第十二届、十三届全国人民代表大会代表、第十四届全国政协委员、港澳台侨委员会委员,香港飞达帽业控股有限公司副主席兼董事总经理颜宝铃、颜禧强伉俪来曲阜参观考察,先后瞻拜颜庙、复圣林。在获悉复圣林修缮工作这一规划时,当场表示要捐资130万元,助力圣林修缮建设。
颜宝铃宗贤的高风义举,让曲阜及各地宗亲倍受鼓舞。大家纷纷响应,有钱出钱、有力出力、群策群力,表示将共同把复圣林修缮这项事业圆满做好。中颜会会长颜廷淦、中颜会顾问颜世元分别带头捐资1万元,曲阜市颜子研究会会长颜世保捐资4万元,曲阜市颜子研究会常务副会长颜升捐资3万元,曲阜颜子研究会监事颜承德捐资2万元,副秘书长颜廷湖、理事颜景营、颜景欣、颜强、颜丙营及山东颜子文化研究会副会长颜秉明分别捐资1万元……。一时间,复圣林修缮成为各地颜氏后裔的关注焦点,中华文化促进会颜子文化委员会、山东颜子文化研究会等组织与各地宗亲也纷纷表态,愿为圣林修缮贡献己力。
2024年12月,第四届颜子文化节在曲召开之际,各地颜氏后裔代表专程赴颜林寻根问祖,当看到焕然一新的复圣林,各地宗亲无不感怀、触动。中颜会常务副会长、曲阜市颜子研究会会长颜世保当即决定再斥资100万,用于复圣林修缮提升工程中的林区道路建设,赢得海内外宗亲的广泛赞誉。四川省颜子文化研究会会长颜克文、广东省颜子文化研究会会长颜维英等也踊跃加入进来,分别表示负责复圣林享殿建设工程的全部款项、协同参与复圣林道路建设工程。
今年5月,曲阜市颜子研究会会长颜世保所捐80万资金已到账,将用于颜林修缮提升工程的后续工作。如此一来,各地颜氏宗亲与各界热心人士纷纷相继加入到复圣林修缮的大队伍中来,修缮圣林古迹,弘扬颜子文化,成为更多人心底的向往与追求。
今日,于复圣林内,放眼望去,松柏挺拔,石仪威武,神道正中央的复圣颜子墓在日光下显得庄重肃穆、熠熠生辉。随着二期工程的持续进行,复圣林的保护与传承工作也进入了新的阶段,待三期修缮提升工程完成后,那庄严古朴、气势恢宏的复圣林将更好的呈现在世人面前,真正让“三颜”成为颜子文化的历史凝结与文化标志。中华文化促进会颜子文化委员会、曲阜市颜子研究会将继续发挥带头引领作用,团结各方力量,共同守护这一珍贵的历史文化遗产。同时也期待更多颜氏后裔与各界人士心向圣林,热心参与,共同为复圣林修缮工程添砖加瓦。既让颜子文化弘扬传播,持续研究,又让颜子文化的实物遗产得到妥善保护,有所依托,让世人更真真切切地感受到颜子文化的厚重与精深,体悟到优秀传统文化的博大与浩瀚。
湖北复圣颜子文化传承理事会 简 报 第 202507 期 理事会秘书处 2025 年 10 月 31 日 谱续家声凝宗谊 传..

扫描二维码微信打赏